
您當前的位置:首頁 / 新聞動態 / 公司資訊 / 凹版塑料印刷機的印刷裝置
凹版塑料印刷機的印刷裝置由印版滾筒、壓印滾筒、離合壓機構等組成。

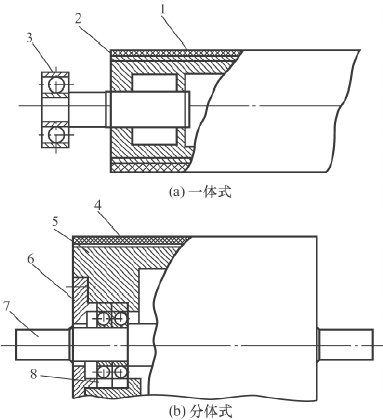
圖1 壓印滾筒結構圖
1、4-橡膠層;2-滾筒;3、8-軸承; 5-滾筒體;6-端蓋;7-軸

圖2 離合壓機構圖
1-刮墨裝置;2-印版滾筒;3-紙帶; 4-壓印滾筒;5-背壓鋼輥;6-導板; 7-擺輥;8-氣缸;9-導紙輥
1.印版滾筒結構與調節
凹版塑料印刷機的印版滾筒結構也分為無軸滾筒和有軸滾筒,它們的基本機構分別如圖3(a)、圖3(b)所示。有軸式滾筒結構一般都用在較舊的塑料凹印機上,目前已經趨于淘汰;無軸式滾筒結構多用于現代塑料凹印機。
(1)無軸式印版滾筒的安裝
印版滾筒兩端的安裝如圖3所示。在傳動面一側用氣動錐頂5安裝,在操作面一側用手動錐頂2安裝,手動錐頂用于調整印版滾筒軸向位置,氣動錐頂則用于快速安裝滾筒。印版滾筒的轉動是由主傳動接螺旋齒輪副來完成的。

圖3 印版滾筒結構圖
1-調節手輪;2-手動錐頂;3、4-錐頭;5-氣動錐頂;6-氣缸;7-主傳動軸;8-緊固手柄; 9、11-夾緊機構;10-印版滾筒;12-印版滾筒軸;13-傳動齒輪;14-支撐軸承
氣動錐頂基本結構如圖11-26所示。采用了15°螺旋齒輪副傳動。由主傳動帶動螺旋齒輪副23、24旋轉,再經外齒輪11與內齒輪10嚙合,通過錐頭軸上的花鍵帶動錐頭軸轉動。印版滾筒與錐頭軸上的鍵連接,即帶動印版滾筒轉動。當需要停止氣動錐頂轉動時,搬動手柄(圖中未畫出),使撥叉擺桿13撥動外齒輪與內齒輪脫離嚙合。此時,螺旋齒輪副轉動,但錐頭不轉動,這樣就可以完成裝上和拆下印版滾筒的操作。
安裝印版滾筒時,氣缸17的活塞推出,通過連接套15推動滾動軸承14,使錐頭軸向右移動,于是錐頭頂緊印版滾筒,這時手動錐頂不動。印版滾筒安裝好后,扳動手柄,使撥叉擺桿擺動,撥動外齒輪與內齒輪嚙合,印版滾筒開始轉動,即可以進行印刷。
更換印版滾筒時,氣缸斷氣,活塞退回氣缸。此時,因為固定在活塞上的連接套用緊固螺釘與軸承外套相連接。因此,活塞退回時,活塞上的連接套帶動軸承外套拉動滾動軸承,并由鎖緊螺母使錐頭軸退回與印版滾筒脫開。
(2)無軸印版滾筒的橫向調節
在凹版塑料印刷機上,手動錐頂結構是印版滾筒的橫向調節裝置,是手動錐頂利用氣體的可壓縮性來實現的,安裝在操作面的印版滾筒上。手動錐頂基本結構如圖11-27所示。手動錐頂的轉動是由氣動錐頂的轉動帶動的。調整時,首先松開緊固手柄,轉動調節手輪16,并通過鍵帶動螺紋軸轉動,使螺紋套在螺紋軸上左右移動。通過固定板推動軸承只能左右移動,并受到擋柱的限制而不能轉動,從而軸承推動錐頭軸左右移動,即可以完成印版滾筒位置的橫向調節的目的。調節好以后,擰緊緊固手柄,以防止手輪轉動而導致印版滾筒位置變化。
2.壓印滾筒與離合壓機構
凹版塑料印刷機壓印滾筒結構以及離合壓機構均與紙張凹版印刷機基本相同,這里不再贅述。


熱門產品
新聞推薦
如果您有任何產品上的問題及建議,或您想知道的,您可以隨時與我們聯系。
聯系我們
在線留言